YFV318 Clamp-in Valve


| Technical Requirements | |||||||||
| 1. The installation torque of the valve core is:◎ 0.35~0.45N.m; The axial end position requirement after valve core installation is:-0.70~+0.10mm; the leakage rate after valve core installation ≤0.2cc/min; | |||||||||
| 2. The installation torque of the dust cap is:0.17~0.34N.m; | |||||||||
| 3. The leakage rate after valve body installation is ≤0.2cc/min; | |||||||||
| 4. The product meets the rquirments of GB/T 9766.4 standard; |
Characteristic Symbol: Ma jor: ◎
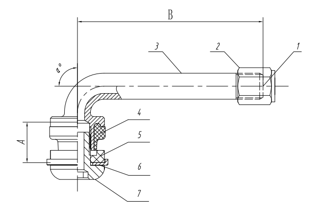
| No. | DWG. No. | Part Name | QTY | Material | Remark |
| 7 | YFV318.02 | Screw | 1 | HPb59-1 | Chrome plating |
| 6 | YFV318.03 | Washer | 1 | HPb59-1 | Chrome plating |
| 5 | YFRG92 | Grommet | 1 | EPDM | |
| 4 | YFRG91 | Grommet | 1 | EPDM | |
| 3 | YFV318.01 | Valve stem | 1 | HPb60A | Chrome plating |
| 2 | YFVC15 | Valve Cap | 1 | HPb58-3 | Chrome plating |
| 1 | YF.TRC1-HT.00 | Valve core | 1 | White and Red Core |
| Size Range | 0~6 | 6~30 | 30~120 | 120~400 |
| General Tolerance | ±0.1 | ±0.2 | ±0.3 | ±0.5 |
YFV318 Clamp-in Valve


| Technical Requirements | |||||||||
| 1. The installation torque of the valve core is:◎ 0.35~0.45N.m; The axial end position requirement after valve core installation is:-0.70~+0.10mm; the leakage rate after valve core installation ≤0.2cc/min; | |||||||||
| 2. The installation torque of the dust cap is:0.17~0.34N.m; | |||||||||
| 3. The leakage rate after valve body installation is ≤0.2cc/min; | |||||||||
| 4. The product meets the rquirments of GB/T 9766.4 standard; |
Characteristic Symbol: Ma jor: ◎
| No. | DWG. No. | Part Name | QTY | Material | Remark |
| 7 | YFV318.02 | Screw | 1 | HPb59-1 | Chrome plating |
| 6 | YFV318.03 | Washer | 1 | HPb59-1 | Chrome plating |
| 5 | YFRG92 | Grommet | 1 | EPDM | |
| 4 | YFRG91 | Grommet | 1 | EPDM | |
| 3 | YFV318.01 | Valve stem | 1 | HPb60A | Chrome plating |
| 2 | YFVC15 | Valve Cap | 1 | HPb58-3 | Chrome plating |
| 1 | YF.TRC1-HT.00 | Valve core | 1 | White and Red Core |
| Size Range | 0~6 | 6~30 | 30~120 | 120~400 |
| General Tolerance | ±0.1 | ±0.2 | ±0.3 | ±0.5 |
content is empty!